产品概述
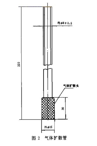
气体扩散管
适用方法:SH/T 0085
扩散管总长:250mm
扩散管外径:8±0.5mm
扩散头外径:15mm
扩散头长:30mm


相关产品:金属试片【钢、黄铜、铜、铸铁、焊料、铸铝】
上海涞帛仪器有限公司长期致力于为油品检测实验室提供优质的分析仪器、耗材及产品检验方案,包括进口/国产分析仪器、标准样品、油品分析玻璃仪器、塑料/金属制品、过滤纯化、一次性用品等各类耗材。不仅让您一站式采购全部实验室所需,更可根据您的实际需求制定详尽的周期供应方案,满足的您个性化需求。公司所代理的美国、英国及国内产品均满足国标、行标以及ASTM、ISO等国内和国际产品标准和实验方法要求。公司秉承为“实验室客户提供解决方案,创造更多价值"的理念。不断为客户提供个性化、创新性服务,致力于满足客户对实验室产品的专业化需求。目前,我们已经与石化、检验、冶金、电力、高校科研及第三方检测实验室等建立了稳定的合作关系。
- 上一个: 倾点试管
- 下一个: 玻璃清洗液金属腐蚀试验瓶





